BOUT US
台钢模具有限公司,是一家知名的非标模胚生产公司。地处虎门树田、我们生产的中大型非标模胚质量可靠,已在珠三角地区树立良好的形像。深受合作过的模具制造商的青睐。 为了满足客户的需求,我们的设备含是2017年之后的精密CNC、卧式机、龙门、侧铣等先进设备,拥有一批具有专业知识和不断追求卓越的高素质、高技术的专业技术人才和管 理人员。公司秉承以客户需求为中心,在专注珠三角地区市场的同时,也派骨干外出学习,经常走访客户,以公司精湛的技术、优质的产品博得众多合作商的好评和信任。在珠 三角地区树立了良好公司品质形像。同时公司还建立了专门的品质部门,建立了完善的售后服务体系。为客户与本企业建立起良好的互动和沟通平台。公司推行以(ERP)信息化 为核心的管理系统,坚持“规范制度、控制过程、注重细节、持续改进”的绩效考核管理和提高。企业战略:为模具制造商提供优质的模胚和服务,让台钢模具有限公司成为模胚 行业更具影响力。 【了解详情】
EWS INFORMATION
2019-05-11
2019-05-11
非标模架:模架是模具的基础架构,对模具的质量有直接性影响。模架由不同规格的钢板及配件组成。模具应用涉及
2019-05-11
2019-05-11
标模模架就是按行业标模生产的模架,行业通用只要说出型号尺寸,大家都知道板件的厚度,以及零件的位置,方便设
2019-05-11
2019-05-11
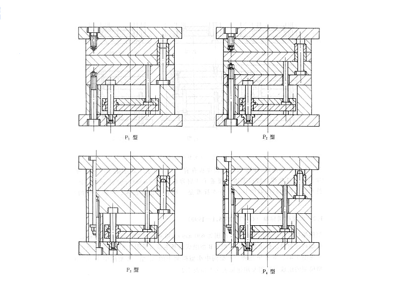
工业上模胚分为大水口、简化型/细水口、细水口、简化型细水口、另外还有花样式的多种分类。很多人对细水口的
2019-05-11
2019-05-11
双色双料通指2种塑材2种颜色,塑材通常分为硬胶与硬胶包合软胶与硬胶包合。(硬胶常用ABSPCPPPVC..软胶常用TP
地址:广东省东莞市虎门镇树安裕田北路2号101室
邮箱:sales@taigangmould.com
电话:0769-85712710-8001
手机:18666439572 何小姐
网址:www.vandenserdve.com
手机站